Tanque (reservatório)

Um tanque de armazenamento ou de armazenagem também designado por reservatório (Figura 1) é um recipiente destinado a armazenar fluidos à pressão atmosférica e a pressões superiores à atmosférica. Na indústria de processo, a maior parte dos tanques de armazenamento são construídos de acordo com os requisitos definidos pelo código americano API 650. Estes tanques podem ter dimensões variadas, indo desde 2 ou 3 m de diâmetro até 50 m ou mais. Estão regra geral, instalados no interior de bacias de contenção com a finalidade de conter os derrames em caso de rotura do tanque. A sua construção pode ser feita com tecto fixo ou flutuante, interno ou externo, dependendo sempre das características e o tipo de produto a armazenar. É de extrema importância realizarem-se, de forma regular e periódica, a verificação e limpeza das estruturas e equipamentos utilizados para armazenar os produtos. Desta forma, garante-se que as características dos produtos não se alteram, bem como, evitar-se ou amenizar-se a possibilidade de contaminação do meio ambiente por degradação dos tanques (Lindenberg, 2008, p. 4).
Tipos de tanques
Os tanques, consoante a sua finalidade, podem classificar-se em 4 categorias: Tecto, forma, localização e utilização.
- Quanto ao tecto este pode ser
- Fixo
São geralmente utilizados para armazenar petróleo e seus derivados, sendo formados na sua sua maior parte por caldeiras Estão presentes em refinarias, oleodutos e terminais rodoviários para cargas/logistica ou ferroviários. Estão subdivididos em: tanques de tecto fixo, tanques de tecto móvel, tanques de tecto fixo com diafragma flexível e tanques de tecto flutuantes. Cada um destes pode apresentar várias formas de tectos (Lindenberg, 2008, p. 9):
- Tecto Cónico (Figura 2): Possui uma estrutura de um cone recto;
- Tecto Curvo (Figura 3): Possui uma estrutura de uma calota esférica;
- Tecto em Gomos: É igual ao tipo dois, mas o tecto é constituído por várias placas de chapas.
- Móvel
Neste género de tanque o seu tecto desloca-se de acordo com a pressão exercida pelo vapor. Devido a esses movimentos, é necessário a existência de dispositivos de segurança, com a finalidade de evitar acidentes provocados por um possível excesso de pressão. Para evitar as perdas com a evaporação, usa-se um vedante entre o tecto e a parede do tanque (Lindenberg, 2008, p. 9-10).
- Fixo c/ diafragma flexível
Nestes tanques há uma grande capacidade de variar o espaço, pois a pressão interna modifica-se alterando o volume do vapor. Essa variação é feita pela deformidade de um revestimento que age internamente como uma membrana flexível, sendo normalmente usado plástico na sua fabricação para suportar a expansão liquida ou gasosa do fluido. É muito usado em sistemas fechados, ajudando a diminuir os prejuízos causados pela acumulação de vapores indesejados (Lindenberg, 2008, p. 9).
- Flutuante
Neste tipo de tanque (Figura 4) o tecto flutua sobre o produto que está armazenado. Dessa forma a cobertura movimenta-se de acordo com o esvaziamento ou enchimento. A razão principal pelo qual são utilizados é por reduzirem as perdas do produto em consequência da evaporação. Estes tanques devem possuir um sistema de selagem visto que o seu tecto flutuante, move-se internamente em relação ao costado (parede do tanque) (Lindenberg, 2008, p. 10).
- Em relação à forma os tanques podem ser
- Cilíndricos
São todos aqueles cujo formato tem a forma cilíndrica, ou seja, corpo longo e arredondado de igual diâmetro em todo o comprimento. Estes podem ser verticais ou horizontais (Lindenberg, 2008, p. 11).
- Esféricos
Entre todos os tipos de tanques de armazenamento, o mais recomendado e usado para armazenar gás é o tanque esférico (Figura 5). A sua forma geométrica não permite, quando esvaziado, que nenhum resíduo ou sobra de gás permaneça no interior do tanque. Não não apresenta vértices, o que possibilita uma libertação mais eficaz do gás contido nele. Seguindo tal raciocínio, grande parte das empresas e indústrias que utilizam de tanques para armazenamento de gás fazem uso do tipo esférico. Como qualquer tanque, este também precisa de ser inspeccionado periodicamente para prevenção de acidentes. Na primeira década dos anos 2001 as inspecções eram feitas manualmente apenas em alguns pontos específicos, apresentado custos elevados e consumindo muito tempo. Em igual período notou-se um crescimento mundial do uso de gás natural e a consequente expansão desse mercado, de tal forma que se passou a usar este tanque para transportar grandes quantidades de gás natural liquefeito (GNL) através do oceano. Normalmente, cada navio (Figura 6) carrega até cinco desses tanques esféricos de alumínio com uma capacidade combinada de até 35 milhões de galões – energia suficiente para abastecer, num dia, aproximadamente 16 milhões de residências (Lindenberg, 2008, p. 13).
- Os tanques quanto à sua localização podem designar-se por
- Aéreos
Os tanques de armazenamento aéreo têm forma cilíndrica e podem ser verticais ou horizontais (Figura 7) (Figura 8). Os tanques aéreos verticais são utilizados quando o consumo é muito intenso e quando se pretende um grande stock de fluidos, indo a capacidade destes de quatro até quinze dias (consoante o consumo). A sua fabricação pode ser concebida segundo o grau API (escala hidrométrica idealizada pelo American Petroleum Institute) a que lhe está associado e a sua instalação ou é feita com o tanque assente numa mistura de areia e asfalto ou pode ser colocado sobre uma base de betão armado. Neste caso, para evitar que a água do fundo do tanque não penetre no betão é fundamental que a base deste seja selada com asfalto. Para receber uma determinada entrega, é importante possuir mais do que um tanque deste género, visto que o fluido não irá ser distribuído na hora, sendo necessário deixar o ar sair, e a água e os detritos depositarem-se no fundo. Para aplicações de pequeno consumo usam-se os tanques aéreos horizontais. Estes podem ser colocados sobre tijolos, bacia metálica ou numa estrutura de betão armado, neste caso, esta é construída em fundações apropriadas ao solo da região e na sua instalação deve de levar-se em conta o ângulo de inclinação equivalente a 1% do seu comprimento no sentido da válvula de drenagem. É também importante que a estrutura seja reforçada com vigas de betão e entre o berço e o tanque haja uma manta em borracha ou asfalto. A estrutura do tanque deve contemplar uma distância de pelo menos seiscentos milímetros ao solo para que seja feita a pintura, drenagem e verificação do reservatório (Lindenberg, 2008, p. 11).
- Subterrâneos
Os tanques subterrâneos (Figura 9) são usados para o armazenamento de combustíveis fósseis. Esta classe de tanques, fabricados em aço-carbono, ficam sujeitos aos efeitos da corrosão (Figura 10) principalmente nos pontos de solda das chapas e conexões. Os principais factores que influenciam o processo de corrosão estão relacionados com o ph, a humidade e a salinidade do solo onde os tanques estão enterrados. Estatísticas norte-americanas indicam que 91 % dos tanques subterrâneos sofrem corrosão a partir do seu exterior, enquanto que, apenas 9% deles sofrem corrosão a partir da parte interna. As corrosões a partir da parte interna dos tanques subterrâneos estão normalmente relacionadas com os componentes dos produtos comercializados, como é o caso do gasóleo por conter altos teores de enxofre, funcionando este como um acelerador no processo de degradação das chapas metálicas principalmente na parte vazia do tanque onde o enxofre e o oxigénio se misturam. Para conter este problema existem os tanques de parede dupla (conhecidos também, pelo nome de Tanque jaquetado . Eles são construídos com duas paredes e com um sensor especial, instalado no espaço intersticial em pressão negativa. Este sensor é accionado pela alteração da pressão interna provocada pele entrada de ar ou da água do lençol freático devido à falta de vedagem da parede externa ou pela saída do produto por falta de isolamento da parede interna. A maior parte desse tipo de tanque subterrâneo é construída com dois materiais diferentes, sendo que a parede interna, a exemplo do modelo convencional, é construída com aço-carbono, enquanto a parede externa é construída com uma resina termofixa, não sujeita à corrosão, a qual fica em contacto directo com o solo. Certos modelos de tanques possuem as duas paredes fabricadas com resina. Esses tanques novos possuem grandes câmaras de calçada, as quais possibilitam o acesso à boca de inspecção e a visualização das suas tubagens. Qualquer derrame ocorrido nessas tubagens, será contido no interior da câmara, sem qualquer prejuízo para o meio ambiente. É imprescindível que sejam realizados testes para averiguação da vedagem, logo após a sua instalação (Figura 11) e antes de serem colocados em uso. Quer os tanques subterrâneos de parede simples ou os de parede dupla têm a sua integridade directamente relacionada com as seguintes situações (Investigação, 2001):
- Transporte adequado que não provoque danos da parede do tanque;
- Métodos adequados de instalação que evitem atritos ou pancadas;
- Qualidade da compactação do solo, nas fundações da instalação;
- Profundidade de instalação e altura da área coberta;
- Fixação adequada, em terrenos sujeitos a inundações.
- A utilização dos tanques é variada, podendo ser de
- Serviço
O tanque de serviço (Figura 12) ficam entre o tanque de armazenamento e o equipamento utilizado para queimar combustível. Têm baixa capacidade e têm como função principal conter combustível perto do ponto de consumo quando o tanque de armazenagem estiver muito longe (Barros, 2002).
- Postos de serviço
Este género de tanques (Figura 13) encontra-se mais frequentemente em postos de abastecimento e centros de abastecimento, destinados na sua maior parte ao armazenamento e distribuição de produtos derivados do petróleo, como a gasolina ou o gasóleo. Os postos de abastecimento, mais conhecidos como bombas de gasolina, são locais onde se comercializa, principalmente, combustíveis para automóveis. Os centros de abastecimento estão mais vocacionados para servir grandes empresas que têm um volume de combustíveis muito grande. Estas empresas vão desde companhias de transportes terrestres, marítimos, aéreos, ferroviários, a cooperativas e clubes, entre outras. Os tanques instalados nestes locais tem a particularidade de possuir uma parede dupla em aço-carbono e funcionarem à pressão atmosférica (Lindenberg, 2008, p. 12).
- Óleos Lubrificantes
Esses tanques subterrâneos (Figura 26) são utilizados para o armazenamento temporário de óleos lubrificantes, provenientes das trocas efectuadas nos veículos, até ao destino final adequado. Por se tratar de resíduos com pouco valor comercial, estes reservatórios não possuem os mesmos cuidados que os tanques de armazenamento de combustíveis fósseis, e o controlo do stock não costuma ser rigoroso não sendo efectuados testes com regularidade nesses tanques com o intuito de confirmar a seu estancamento. São encontrados vários postos de revenda de combustível, que ainda utilizam caixas subterrâneas construídas em alvenaria, sendo absolutamente inadequadas, uma vez que os óleos lubrificantes podem penetrar nas paredes internas e atingir facilmente o subsolo, contaminando-o. (Investigação, 2001).
- Desactivados
Os tanques são retirados da actividade por apresentarem falta de vedagem, mas mesmo que não tenham sido desactivados por problemas de derrames, esses tanques estão mais sujeitos aos efeitos da corrosão, devido à grande área de contacto com o oxigénio no seu interior. Assim, por uma questão de segurança, recomenda-se que esses tanques sejam removidos, evitando desta forma a formação de atmosferas confinadas podendo conter vapores inflamáveis, bem como, possibilitar a investigação de prováveis contaminações do solo, ou ainda, evitar a sua reutilização negligente. À remoção destes tanques está implícito um custo elevado e certas empresas, possuidoras deste género de tanques, são aconselhadas a preencher o mesmo com material inerte, como a areia por exemplo. O uso de água para os mesmos fins é desaconselhável, dado que os resíduos de combustível existentes no tanque irão contaminá-la, e em caso de derrame por eventuais furos na parede, irão contaminar o solo. (Investigação, 2001).
Produtos armazenados e seus respectivos tanques
De acordo com a norma da Petrobrás (N-270, 1997), recomenda-se o tipo de tanque a ser usado de acordo com o produto que vai ser armazenado.
Tanques de tectos flutuantes, teto cónico, para pequena pressão interna:
- Nafta (combustível) e produtos leves de gasolina, petróleo, álcool e gasóleo leve.
Tanques teto cónico com teto flutuante, baixa pressão de teto cónico:
- Gasolina de aviação (GAV).
Tanque sem teto:
- Água bruta.
Tanques de teto cônico:
Tanque de Aço Inox¹
Os tanques de armazenamento também são chamados em algumas regiões de reservatórios e podem ter diversas dimensões, sendo que os menores geralmente têm entre dois ou três metros de diâmetro e os maiores 50 metros de diâmetro ou mais. Existem ainda normas e regras, que são fiscalizadas por órgãos públicos, para que os tanques sejam construídos de forma com que as características do produto armazenado não sejam alteradas e para que não haja contaminação ou depredação do meio ambiente.
Os tanques de aço inox podem ser utilizados tanto na produção e armazenagem de vinhos, sucos industriais e água mineral, como na produção de leite e produtos da indústria farmacêutica.
É ideal para empresas que produzem vinho, sucos, leite, cervejas e até mesmo medicamentos. Por ser totalmente reciclável, o tanque de aço inox é um material completamente ecológico, não prejudicando assim o meio ambiente e os produtos que nele são produzidos. O aço inox possui também um visual bonito e com grande variedade de acabamentos de superfície, tendo um material esteticamente único, ou seja, além de ser útil na produção das empresas, o tanque de aço inox acaba servindo também como objeto de adorno.
Pintura
No geral, os tanques de armazenamento são pintados (Figura 14) externamente com tinta primária que inibe a corrosão e o acabamento é feito em tinta de esmalte acrílico. O seu interior não precisa de protecção, salvo as estruturas de suporte e chapas no tecto, onde é aplicado uma primário com a função de evitar a sua degradação e com acabamento em tinta de esmalte acrílico branco. Os tanques verticais têm os seus corrimãos e protecções pintadas com tinta amarela (cor de referência para este tipo de equipamentos) de esmalte acrílico (Figura 15). Na figura 14 verifica-se que o primário tem uma cor avermelhada e o acabamento é feito numa tinta acrílica amarela. (Barros, 2002).
Parque de tanques
- Classificação dos parques
Os parques de tanques (Figura 16) são classificados em três tipos de acordo com suas capacidades de armazenamento: os pequenos, com capacidade igual ou inferior a 10 mil m³ , os médios com capacidade entre 10 e 40 mil m³ e os grandes que possuem capacidade maior do que 40 mil m³. Esta classificação, porém, não se aplica a tanques utilizados em refinarias e unidades petroquímicas, tais como, oleodutos, terminais, parques industriais, entre outros.
- Classificação dos líquidos
Intitulam-se líquidos inflamáveis aqueles que possuem ponto de inflamação inferior a 37,8 °C e a pressão de vapor é menor ou igual a 275,6 kPa. Denominados classe I, são subdivididos em:
- classe IA: Líquidos com ponto de inflamação inferior a 22,8 °C e ponto de ebulição inferior a 37,8 °C;
- classe IB: Líquidos com ponto de inflamação inferior a 22,8 °C e ponto de ebulição igual ou superior a 37,8 °C;
- classe IC: Líquidos com ponto de inflamação igual ou superior a 22,8 °C e inferior a 37,8 °C.
Designam-se líquidos combustíveis os que possuem ponto de inflamação igual ou superior a 37,8 °C, e são subdivididos em:
- classe II: Líquidos com ponto de inflamação igual ou superior a 37,8 °C e inferior a 60 °C;
- classe IIIA: Líquidos com ponto de inflamação igual ou superior a 60 °C e inferior a 93 °C;
- classe IIIB: Líquidos com ponto de inflamação igual ou superior a 93 °C.
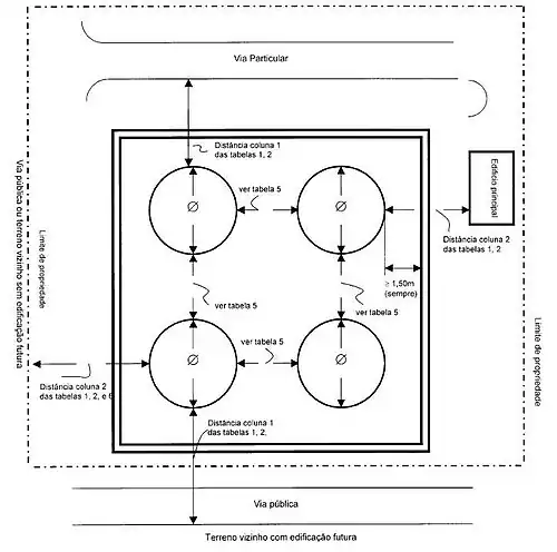
Distâncias de segurança
As distâncias de segurança são aquelas compreendidas entre a parede do tanque e:
- o mesmo de um outro tanque;
- a parede externa mais próxima ou projecção da cobertura de uma edificação;
- a parte externa mais próxima de um equipamento fixo;
- o limite de propriedade;
- a base interna de um dique.
A distância mínima do costado de um tanque e a base interna do dique é de 1,5 m. O espaçamento entre tanques deve ser determinado conforme a Tabela 5. As demais distâncias mínimas de segurança encontram-se nas tabelas 1, 2, 3, 4 e 5 abaixo (NBR-7505-1, 2000).
- Espaçamento entre tanques
| Tipo de tanque | Proteção | Distância mínima (nunca inferior a 4,5 m) do limite da propriedade onde haja ou possa haver construção, incluindo o lado oposto da via pública | Distância mínima (nunca inferior a 4,5 m) do lado mais próximo de qualquer via pública ou qualquer edificação importante na mesma propriedade (nunca inferior a 1,5 m) |
| Com tecto flutuante | Com proteção contra exposição | 1/2 diâmetro do tanque | 1/6 do diâmetro do tanque |
| Sem proteção alguma | O diâmetro do tanque, limitado a 53 m | 1/6 do diâmetro do tanque | |
| Vertical com solda de baixa resistência entre o tecto e o costado | Usando sistema de espuma ou sistema de inertes em tanques que não excedam os 45 m de diâmetro | 1/2 diâmetro do tanque | 1/6 do diâmetro do tanque |
| Com proteção contra exposição | O diâmetro do tanque | 1/3 do diâmetro do tanque | |
| Sem proteção alguma | 2 vezes o diâmetro do tanque limitado a 105 m | 1/3 do diâmetro do tanque | |
| Horizontal e vertical com dispositivo de alívio de emergência limitado a uma pressão de 17,2 kPa | Usando sistema de inertes no tanque ou sistema de espuma no tanque vertical | 1/2 do valor da Tabela 4 | 1/2 do valor da Tabela 4 |
| Com proteção contra exposição | O valor da Tabela 4 | O valor da Tabela 4 | |
| Sem proteção alguma | 2 vezes o valor da Tabela 4 | O valor da Tabela 4 |
| Tipo de tanque | Proteção | Distância mínima do limite da propriedade onde haja ou possa haver edificação, incluindo o lado oposto da via pública | Distância mínima do lado mais próximo de qualquer via pública ou qualquer edificação importante na mesma propriedade |
| Qualquer tipo | Com proteção contra exposição | 1,5 vezes o valor da tabela 4, mas não menor que 7,5 m | 1/2 vez o valor da tabela 4, mas não menor que 7,5 m |
| Sem proteção alguma | 3 vezes o valor da tabela 4 mas não menor que 15 m | 1,5 vezes o valor da tabela 4 mas não menor que 7,5 m |
| Capacidade do tanque (m³) | Distância mínima do limite da propriedade onde haja ou possa haver construção, incluindo o lado oposto da via pública (m) | Distância mínima do lado mais próximo de qualquer via pública ou qualquer edificação importante na mesma propriedade (m) |
| ≤ 45,6 | 1,50 | 1,50 |
| 45,6 a 114 | 3,00 | 1,50 |
| 114 a 190 | 3,00 | 3,00 |
| 190 a 380 | 4,50 | 3,00 |
| ≥ 380 | 4,50 | 4,50 |
| Capacidade do tanque m³ | Distância mínima do limite da propriedade onde haja ou possa haver construção, incluindo o lado oposto da via pública (m) | Distância mínima do lado mais próximo de qualquer via pública ou qualquer edificação importante na mesma propriedade (m) |
| ≤ 45,6 | 4,50 | 4,50 |
| 45,7 a 190 | 6,00 | 4,50 |
| 190,1 a 380 | 15,00 | 4,50 |
| 380,1 a 1 900 | 24,00 | 7,50 |
| 1 901 a 3 800 | 30,00 | 10,50 |
| 3 801 a 7 600 | 40,50 | 13,50 |
| 7 601 a 11 400 | 49,50 | 16,50 |
| > 11 400 | 52,50 | 18,00 |
| Tanque de tecto flutuante | Tanque de tecto fixo ou horizontal | ||
| Líquidos da classe I ou II | Líquidos da classe IIIA | ||
| Todos os tanques com o diâmetro inferior a 45 m | 1/6 da soma dos diâmetros dos tanques adjacentes, mínimo de 1 metro | 1/6 da soma dos diâmetros dos tanques adjacentes, mínimo de 1 metro | 1/6 da soma dos diâmetros dos tanques adjacentes, mínimo de 1 metro |
| Tanques com o diâmetro superior a 45 m | |||
| Se possuírem uma bacia de contenção | 1/6 da soma dos diâmetros dos tanques adjacentes | 1/4 da soma dos diâmetros dos tanques adjacentes | 1/6 da soma dos diâmetros dos tanques adjacentes |
| Se possuírem um dique de contenção | 1/4 da soma dos diâmetros dos tanques adjacentes | 1/3 da soma dos diâmetros dos tanques adjacentes | 1/4 da soma dos diâmetros dos tanques adjacentes |

Protecção do meio ambiente
Conforme é citado por (Barros, 2002), os enganos ou as distracções ao armazenar um produto num tanque estão associados vários tipos de prejuízos, tanto sociais como ambientais como económicos, a saber: prejuízos económicos como a danificação da estrutura e o vazamento ou derrame do produto armazenado; prejuízos financeiros associados ao valor comercial atribuído ao liquido e a utilidade desses; a possível poluição e contaminação da região podendo ocorrer incêndios; Em alguns casos, vidas podem ser ceifadas devido a infecções causadas pelo produto derramado ou a um incêndio ocasionado por este, bem como, a escassez da água potável e das reservas energéticas. Por forma a evitar que estas calamidades aconteçam são criadas em parques de tanques as seguintes medidas:
- Bacias de contenção
Uma bacia de contenção (Figura 18) de um produto deve ser construída em volta dos tanques sendo feita em tijolo, metal (ver Módulo de Abastecimento) ou em betão e o seu revestimento deve de ser impermeável ao líquido armazenado para evitar derrames que podem provocar risco de incêndio, danos à propriedade ou contaminar o meio ambiente. A capacidade mínima volumétrica da bacia deve ser igual à capacidade do maior tanque mais 10% (dez por cento) da soma das capacidades dos demais. Para evitar um derrame ou outro tipo de emergência as paredes da bacia de contenção devem de ser resistentes ao óleo combustível e devem ser capazes de suportar uma pressão considerável. A válvula de drenagem, que deve ser incorporada no lado externo da bacia de contenção, deve estar fechada para evitar possíveis contaminações ao meio ambiente. Dependendo da densidade do óleo armazenado este pode permanecer sobre a água que está retida na bacia de contenção, ou não.
- Indicadores do nível
Um dos meios mais seguros para se determinar o conteúdo, de um tanque de armazenamento cilíndrico horizontal é o uso de uma régua metálica de medição graduada (Figura 19). No caso dos tanques verticais, um indicador de nível é usualmente fornecido. Quando houver instalações com vários tanques será necessário que as réguas de medição sejam identificadas com o tanque ao qual se destinam. Existem outros meios de se fazer a medição de uma tanque, dentre eles estão sistemas de boia e peso, boia e indicador (Figura 20).
- Espaço vazio (câmara de expansão)
O espaço vazio é a zona entre o nível de óleo armazenado no tanque e o tecto do mesmo. O espaço vazio deve ser de 5% do volume total, para tanques até 2 mil litros e de 3% no caso de tanques maiores. Este espaço vazio, é necessário para prevenir a saída de óleo pelo respiro devido à expansão térmica, bem como pela formação de espuma ou ondas do líquido, durante a o enchimento do tanque.
- Tubagens de enchimento
As tubagens de enchimento (Figura 21) devem ser curtas e livres de curvas e a sua conexão deve estar numa posição conveniente, que permita um fácil engate à mangueira do veículo. É comum usar uma caixa colectora em baixo da junção para evitar gotejamento do líquido sendo também necessário que a tubagem seja facilmente acessível. Deve-se usar uma tampa não ferrosa para proteger a tubagem quando esta não estiver em uso. Para assegurar que qualquer óleo sobejante na tubagem de enchimento esteja em viscosidade de bombeamento adequada aquando a realização da entrega deve-se proceder ao aquecimento e ao isolamento térmico, mas preferencialmente ela deve de ser auto-drenante. Nos tanques horizontais as tubagens de enchimento devem entrar pela parte de cima do tanque através de um tubo, para evitar formação de electricidade estática e entrada de ar. Nos tanques verticais, o enchimento do produto é feita por baixo reduzindo assim o trabalho do conjunto motor-bomba. As posições de entrada e saída dos tanques devem ser escolhidas com cuidado para evitar uma possível entrada de ar. No caso dos camiões cisternas não terem acesso directo aos tanques, deve ser construída uma tubagem que transporte o produto do caminhão ao tanque. Existem cuidados especiais que devem ser tomados no caso dessa tubagem possuir um comprimento superior a 30 m, tais como a instalação de uma válvula de drenagem deve ser colocada na secção mais baixa da tubagem e uma outra na conexão da linha de enchimento para evitar vazamentos.
- Respiro dos tanques
Os respiros nos tanques devem ser curtos, livres de curvas, colocados no pontos mais altos, e se possível deve terminar em área aberta para que qualquer vapor do combustível seja dispersado e não haja danos à propriedade, riscos de incêndio, contaminação do solo ou cursos de água no caso de derrame. O diâmetro do respiro deve sempre ser superior ao tubo de enchimento e, em hipótese alguma, deve ser menos que 50 mm. Para salvaguardar o meio ambiente, é necessário o uso de uma rede de arame (salvo, o caso do combustível transportado ser ultra-viscoso) no final do respiro, que deve ser mantida limpa e nunca pintada. É proibida a descarga para a atmosfera de vapores ou gases corrosivos, tóxicos ou de cheiro nauseabundo que possam emanar dos líquidos em fase de carregamento ou permanência nos tanques. Nestes casos, os tanques devem ser dotados de equipamentos que processem sua diluição, neutralização, absorção ou desodorização (Figura 22).
- Conexão de saída
Para os tanques horizontais a conexão de saída (Figura 23) deve ser instalada na parte inferior da calota, e para os tanques verticais a acoplação deverá ser na parte inferior do costado. Além disso, em caso de drenagem do tanque o ponto mais baixo da conexão de saída deverá contemplar um lastro de produto (líquido com maior densidade) para isolar a acumulação de água e sedimentos. Nos tanques com sistema de aquecimento, é necessário que este esteja abaixo do nível da conexão de saída para permanecer sempre imerso no detritos formado.
- Válvula de drenagem
Para permitir as drenagens necessárias, a válvula de drenagem (Figura 24 e 25) deve ser instalada no ponto mais baixo de todos os tanques e se possível, devem ser evitadas tubulações extensas para o dreno devendo estas e ser revestidas e aquecidas para assegurar que o óleo combustível seja transportado em segurança mesmo em condições adversas de tempo. Para prevenir descargas acidentais do conteúdo do tanque, as válvulas podem ser adaptadas a pinos de segurança. É necessário realizarem-se drenagens regulares em tanques que armazenem óleos combustíveis por forma a retirar água que se acumula com o decorrer do tempo, devido a condições de humidade relativa e da ventilação do local. É recomendado que o seguinte procedimento seja adoptado para a verificação de tanques:
- Remover o pino de segurança ou cadeado da válvula de drenagem.
- Colocar um balde ou recipiente por baixo do dreno para colectar qualquer água ou sedimentos.
- Abrir a válvula do dreno gradualmente até que um pequeno fluxo se inicie.
- Permitir que haja tempo para que o óleo contido no corpo da válvula se despeje. Se aparecer água, a válvula deverá ser mantida aberta.
- Quando o óleo começar a sair novamente, fechar a válvula. Repetir os passos n° 3 e 4 depois de alguns minutos até que nenhuma água apareça.
- Desfazer-se da água/sedimentos através da caixa separadora de óleo.
- Recolocar o pino de segurança ou cadeado de válvula de dreno.
Galeria
Figura 2. Tanque de tecto cónico
Figura 3. Tanque de tecto curvo
Figura 4. Tanque de tecto flutuante
Figura 5. Tanque Esférico
Figura 6. Um navio transportador de GNL
Figura 7. Tanque de armazenamento aéreo horizontal (vista detalhada)
Figura 8. Tanque de armazenamento aéreo horizontal para combustíveis de aviação
Figura 9. Tanque subterrâneo (vista detalhada)
Figura 10. Detalhe de corrosão num tanque metálico de parede simples- Figura 11. Instalação de um tanque subterrâneo
Figura 12. Tanque de um Posto de Serviço (vista em detalhe)
Figura 13. Tanques de serviço
Figura 14. Pormenor do corrimão de uma escada de um tanque
Figura 15. Pormenor do corrimão de uma escada de um tanque vertical- Figura 16. Parque de tanques
- Figura 18. Bacia de contenção
Figura 19. Indicador do nível de óleo de um tanque
Figura 20. Medidor do óleo através de um flutuador
Figura 21. Enchimento de um tanque de combustível subterrâneo
Figura 22. Esquema de um respiro de um tanque
Figura 23. Válvula de drenagem
Figura 24. Válvula de drenagem
Figura 25. Esquema de montagem de uma válvula de drenagem
Figura 26. Tanque para Óleo Lubrificante
Referências
- BARROS, André de Souza [et al.] - Óleos combustíveis [Em linha]. Belo Horizonte, Brasil: DENEC da UFMG, [2002]. [Consult. 19 Mar. 2009]. Disponível em WWW: <URL: http://www.demec.ufmg.br/disciplinas/ema003/liquidos/oleocomb/>.
- INVESTIGAÇÃO em postos [Em linha]. São Paulo: CETESB, 2001. [Consult. 17 Mai. 2009]. Tanques subterrâneos desativados. Disponível em WWW: <URL: http://www.cetesb.sp.gov.br/emergencia/acidentes/postos/atendimento_invest_postos_c.asp>.
- INVESTIGAÇÃO em postos [Em linha]. São Paulo: CETESB, 2001. [Consult. 17 Mai. 2009]. Tanques subterrâneos de óleos lubrificantes usados. Disponível em WWW: <URL: http://www.cetesb.sp.gov.br/emergencia/acidentes/postos/atendimento_invest_postos_c.asp>.
- INVESTIGAÇÃO em postos [Em linha]. São Paulo: CETESB, 2001. [Consult. 17 Mai. 2009]. Tanques subterrâneos de combustíveis. Disponível em WWW: <URL: http://www.cetesb.sp.gov.br/emergencia/acidentes/postos/atendimento_invest_postos_c.asp>.
- LINDENBERG, Andrey [et al.] - Área de tancagem [Em linha]. Salvador da Baía, Brasil: SENAI, [2008]. [Consult. 7 Mar. 2009]. Disponível em WWW: <URL: http://209.85.129.132/search?q=cache:1MAS8r2LeyYJ:www.grupos.com.br/group/processos07/Messages.html%3Faction%3Ddownload%26year%3D08%26month%3D8%26id%3D121777596978954%26attach%3D+c%C3%B3digo+americano+API+650&hl=pt-BR&ct=clnk&cd=4&lr=lang_pt>
- N-270 rev C. 1997, Caldeiraria - Projecto de tanque atmosférico. Rio de Janeiro: Petrobrás. 55 p.
- NBR-7505-1. 2000, Tanques de armazenagem - Armazenagem de líquidos inflamáveis e combustíveis: Parte 1 - Armazenagem em tanques estacionários. Rio de Janeiro: ABNT [Associação Brasileira de Normas Técnicas]. 16 p.
- Tanque de Aço Inox - <URL:http://www.tanquedeacoinox.com.br/>
Ver também
- Diesel
- Gasolina
- GNL
- grau API
- Petrobrás
- Petróleo
- Pressão atmosférica
- Resina termofixa
- Tanque jaquetado