Chipset

Em arquitetura de computadores, um chipset (termo “set” significa conjunto) é um conjunto de componentes eletrônicos de baixa capacidade integrados em um circuito integrado presente em todo dispositivo computacional, primeiramente encontrado no IBM PC-AT de 1984, que gerencia o fluxo de dados (comunicação) entre o processador, memória e, periféricos;[1] desempenhando assim um papel crucial na determinação do desempenho do sistema. Um conjunto especializado de chips normalmente encontrado na placa mãe ou em placa de expansão, que são projetados para trabalhar com uma família específica de microprocessadores
História
Nos computadores pessoais, o primeiro chipset foi para o IBM PC AT de 1984, nomeado Chipset do NEAT desenvolvido pela Chips and Technologies para a UCP Intel 80286.
No primórdio da informática as primeiras placas-mãe continham vários pequenos circuitos integrados, dispostos separadamente para gerenciar cada componente/dispositivo do computador.[1] Sendo gradativamente integrados e reduzindo a quantidade necessária deles, surgindo assim o barramento (ou BUS) PCI e as Bridges (ou Pontes).[1] Separando em apenas dois chips nomeados como Northbridge (Ponte Norte, parte superior da placa-mãe) e Southbridge (Ponte Sul) com responsabilidades específicas.[1][2]


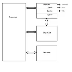
Em computadores domésticos, consoles de jogos e no hardware do arcade-game dos anos de 1980 e 1990, o termo chipset foi usado para os chips padrões de áudio e gráficos. Exemplos incluem o Original Chip Set do Commodore Amiga ou o chipset System 16 da SEGA.
Características

O chipset é um dos principais componentes lógicos de uma placa-mãe, dividindo-se entre "ponte norte" (northbridge, controlador de memória, alta velocidade) e "ponte sul" (southbridge, controlador de periféricos, baixa velocidade). A ponte norte faz a comunicação do processador com as memórias, e em outros casos com os barramentos de alta velocidade AGP e PCI Express. Já a ponte sul, abriga os controladores de HDs (ATA/IDE e SATA), portas USB, paralela, PS/2, serial, os barramentos PCI e ISA, que já não são usados mais em placas-mãe modernas.
Muitas vezes, como em algumas implementações de controladores para processadores AMD K8 (Athlon 64 e Athlon X2, nos quais o controlador de memória está embutido no processador), as duas pontes (bridges) são substituídas por um único chip, o que reduz custos para os fabricantes.
O chipset é quem define, entre outras coisas, a quantidade máxima de memória RAM que uma placa-mãe pode ter, o tipo de memória que pode ser usada (SDRAM, DDR-SDRAM, Rambus, etc.), a frequência máxima das memórias e do processador e o padrão de discos rígidos aceitos (UDMA/33, UDMA/66, etc.).
Confusão sobre fabricantes de chipset e placa-mãe
As marcas de placas-mãe mais conhecidas são Asus, ASRock, Abit, Soyo, Epox, Zida/Tomato, Pcchips, QDI, ECS, FIC, Tyan, Biostar, Soltek, Phitronics, Gigabyte Technology, Intel, foxconn, entre outras. É muito comum confundir a marca da placa-mãe com a marca do chipset. Por exemplo, pelo fato de uma placa-mãe usar chipset SiS, isto não significa que a placa foi produzida por essa empresa, pois a SiS fabrica apenas os circuitos usados por motherboards, mas não fabrica placas.
Outra confusão comum é a associação entre a marca do processador com a da placa-mãe. Por exemplo, uma placa mãe que use um processador Intel pode não ter sido fabricada pela Intel, apesar da empresa também fabricar placas-mãe.
Muitas vezes, ocorre de nos depararmos com placas aparentemente "sem marca" sendo vendidas no mercado. Na realidade estas placas têm marca, mas possivelmente o vendedor a desconhece e algumas vezes são falsificações. Para descobrir a marca de uma placa-mãe, você pode usar programas como o CTBios e o Hwinfo. Podemos classificar placas-mãe de acordo com o soquete (soquete 370, soquete A, soquete 478, etc.), o seu chipset, ou seja, com o conjunto de circuitos da placa-mãe, além do tamanho do cache de memória externo, se a motherboard for do tipo socket 7.
O modelo do chipset é normalmente informado no corpo da placa-mãe e indicado na caixa desta. Pode também utilizar programas como o CPU-Z para conferir o modelo, conferindo a linha "Model" acessando a aba "Mainboard".[3]
O AMD e Intel possuem três categorias de chipsets, que também costumam informar a robustez do sistema de alimentação da CPU. Ainda que o sistema funcione sem incompatibilidade, instalar um processador muito potente em uma placa com alimentação básica limitará drasticamente as capacidades do chip.[3] Os três principais chipsets das fabricantes são:
AMD:
- Xx70: topo de linha com todas as principais novidades da geração de processadores e costuma contar com os VRM mais robustos.[3]
- Bx50: intermediário com um número considerável de recursos avançados, mas o principal foco é o custo-benefício.[3]
- Ax20: de entrada uma solução simples que oferece os recursos básicos dos processadores, com VRM mais simples que podem limitar o desempenho de processadores mais poderosos.[3]
Intel:
Evolução
Nos primeiros PC, os chips eram espalhados pela placa-mãe, que, além de torná-la mais cara, dificultava a comunicação entre os chips. Imagine vários chips simples separados, como o controlador do teclado, codec de áudio e controladores de discos rígidos. Com o passar do tempo, eles começaram a se unir e virarem chips mais complexos. Porém, ao contrário do que parece, essa união fez com que os preços diminuíssem bastante, já que não é mais necessário a criação de vários chips separados, mas sim um mais inteligente que faça o papel dos outros. Além de deixar os micros com preços mais baixos, também ajudou na velocidade da comunicação dos chips, já que como eles ficaram mais próximos, era mais fácil fazer a troca de informações. Hoje em dia há uma forma padrão para os chipsets seguirem.[4]
Principais chipsets e fabricantes
- ATI (adquirida pela AMD em 2006) produziu chipsets para a Intel e processadores AMD assim como processadores gráficos.
- Chipsets para processadores AMD:
- AMD 790FX, 790X, 790GX, 780V, 780, 770
- AMD 690, AMD M690 (móveis)
- AMD 580X CrossFire
- AMD 570X CrossFire
- AMD 480X CrossFire
- ATI Radeon Xpress 1100 (com gráficos integrados para AMD Notebooks)
- ATI Radeon Xpress 1150 (com gráficos integrados)
- ATI Radeon Xpress 200, 200M (móveis) (com gráficos integrados)
- ATI SB600 (Northbridge)
- Chipsets para processadores Intel:
- ATI CrossFire Xpress 3200 (para Intel Core 2 Duo)
- ATI Radeon Xpress 1250 (com gráficos integrados para Notebooks)
- ATI Radeon Xpress 1100 (com gráficos integrados para Notebooks)
- ATI Radeon Xpress 200, 200M (gráficos integrados para Notebooks)
- ATI SB600 Series (ponte sul)
- Processadores gráficos:
- ATI Radeon HD 3800, HD 3600, HD 3400, HD 2900, HD 2700, HD 2600 XT, HD 2600, HD 2400, HD 2300
- ATI Radeon X2300, X1950, X1900, X1800, X1650, X1600, X1550, X1300, X1050
- ATI Mobility Radeon HD 3600, HD 3400, HD 2700, HD 2600 XT, HD 2600, HD 2400 XT
- ATI Mobility Radeon X2500, X1900, X1800, X1700, X1600, X1450, X1400, X1350, X1300
- ATI Mobility Radeon 9800, 9700, 9600, 9550, 9200, 9000, 7500
- ATI Mobility Radeon
- ATI Mobility FireGL V7800, V5200, V5000, V3100
- ATI Mobility FireGL T2
- ATI Mobility FireGL 9000
- Chipsets para processadores AMD:
- Intel produz chipsets para sua propria linha de processadores:
- i845E/GV: Bus 533 MHz, AGP4x, 2GB DDR PC2700 max
- i850e, i855G (855GME para o Pentium M)
- i865G/P: (4 GiB dual-channel DDR, 533 MHz FSB, AGP8x, serial ATA)
- i875p = i865 otimizado
- E7205 (para servidores Pentium 4), E7500/E7501/E7505 (para servidores Xeon)), E7520/E7525/E7530 (para servidores dual Xeon)
- 910GML/GMZ, 915GM/PM, 945PM/GM
- 945PM/GM + Intel PRO/Wireless 3945ABG + Intel Core Solo = Centrino (terceira geração)
- 945PM/GM + Intel PRO/Wireless 3945ABG + Intel Core Duo = Centrino Duo
- 910GL, 915P/PL/G/GL/GV, 925X/XE, 945P/PL/G/GZ, 955X (para Pentium D/XE)
- 963Q, 965P/G/Q, 975X (para Intel Core 2 Duo)
- P35 Express (para Intel Core 2 Duo/Quad/Extreme)
- Intel G31 Express (suporte DDR2, oficialmente suporta até 1066 MHz System Bus)
- Intel G33 Express (suporte DDR2 e DDR3)
- Intel G35 Express (suporta somente DDR2)
- NVIDIA produz chipsets para processadores AMD e Intel, assim como processadores gráficos:
- Chipsets:
- nForce 1
- nForce2: Ultra 400Gb, Ultra 400R, Ultra 400.
- nForce3: Go, Professional.
- nForce4: SLI Intel, Series AMD, SLI/XE Ultra Intel, Intel x16.
- nForce 500: 520, SLI/570/550 AMD, 590SLI AMD, 570 SLI Intel , 590 SLI Intel.
- nForce 600: 650i, SLI/650i Ultra, 680a SLI, 680 SLI/680i LT SLI.
- nForce 700: 780i SLI, 790i SLI.
- Chipsets:
- Silicon Integrated Systems produz chipsets para processadores Intel e AMD (e antigamente para processadores Cyrix):
- SiS 645, 648
- SiS 650, 651, 655, 661, 671, M672
- SiS 735, 740, 760
- VIA Technologies produz chipsets para processadores Intel e AMD:
- VIA KT133, KT133A
- VIA KT266A: FSB 200/266 MHz, AGP4x
- VIA KT333
- VIA Apollo KT400A
- VIA P4X400
- VIA K8T400M
- VIA AIV LOKED
Fabricantes
- Intel
- ATI Technologies
- NVIDIA
- VIA Technologies
- Silicon Integrated Systems
- ASUS
- Asrock
- MSI
Fora do computador
O chipset não é exclusividade de computadores ou smartphones;[5] com equipamentos domésticos cada vez mais inteligentes, cresce a quantidade, como leitores de Blu-ray, scanners e impressoras, que saem de fábrica com esses conjuntos conectados a processadores dedicados; ou seja, com CPU especializada em tarefas simples, como mover o leitor óptico de um drive de DVD e enviar a informação para a tela.
Referências
- 1 2 3 4 «Explicando as características do CHIPSET e qual sua importância:». Iperius Backup. 30 de outubro de 2021. Consultado em 2 de fevereiro de 2023
- ↑ «O que é Chipset?». TecMundo. Consultado em 2 de fevereiro de 2023
- 1 2 3 4 5 6 7 8 Canaltech (22 de abril de 2022). «Como saber qual processador uma placa-mãe suporta». Canaltech. Consultado em 2 de fevereiro de 2023
- ↑ Computer, Tiago (12 de novembro de 2010). «O futuro dos chipsets». MOD Game. Consultado em 12 de novembro de 2010
- ↑ «O que é um chipset?». TechTudo. Consultado em 2 de fevereiro de 2023
Ligações externas
- PCI Express: uma mudança revolucionária por Estado de Minas (acessado em 15 de junho de 2008).