Cilindro (hidráulica e pneumática)

Em hidráulica ou pneumática, um cilindro (também chamado motor linear) é um atuador mecânico que é usado para aplicar uma força através de um percurso linear.
Operação
O cilindro hidráulico recebe a energia do fluido pressurizado por uma bomba hidráulica e o cilindro pneumático recebe a energia do fluido pressurizado por um compressor de gases. O cilindro converte essa energia recebida em energia mecânica. O fluido é enviado para o cilindro por uma válvula direcional.
Construção
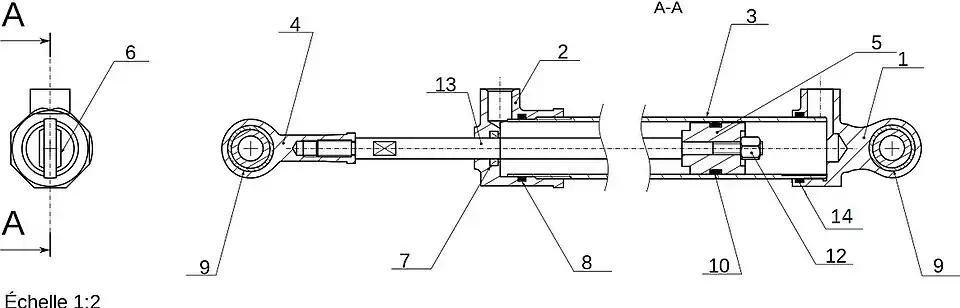
Os cilindros hidráulicos ou pneumáticos consistem basicamente de três peças: um tubo cilíndrico, um êmbolo e uma haste, que é conectada ao êmbolo. Nos cilindros de haste simples (haste em apenas um dos lados do êmbolo), o tubo cilíndrico é totalmente fechado em uma das extremidades pela própria construção do tubo ou por uma tampa não vazada, rosqueada ao tubo ou presa a este por parafusos. A outra extremidade do tubo possui uma tampa ou "cabeça", que pode ser também rosqueada no tubo ou fixada a este por parafusos, através de uma flange. Esta tampa tem um orifício central, de diâmetro pouco maior que o diâmetro da haste, com anéis de vedação, por onde passa a haste, que normalmente é cromada. Nos cilindros de haste dupla (haste dos dois lados do êmbolo), o tubo possui tampas vazadas em ambas as extremidades, por onde passam as hastes, como nos cilindros de haste simples. O êmbolo, que também possui anéis de vedação, divide o interior do tubo cilíndrico em duas câmaras: a câmara do lado do êmbolo e a câmara do lado da haste, nos cilindros de haste simples. O fluido pressurizado atua em ambas as câmaras, alternadamente, para produzir o movimento linear nos dois sentidos.


A força máxima é função da área efetiva do êmbolo e da pressão máxima admissível, onde:
Desta equação, deduz-se que a força F é diretamente proporcional à pressão P e à área A, ou seja, quanto maior P ou A, também F será maior.
A força é constante durante todo o percurso. Nos cilindros de haste simples, a força de extensão da haste é maior que a de retração, já que a área efetiva do lado do êmbolo é maior que a área efetiva do lado da haste. Isto porque a área efetiva do lado da haste é a área do êmbolo, subtraída a área da seção circular da haste. Nos cilindros de haste dupla, tendo ambas as hastes o mesmo diâmetro, também as forças serão iguais nos dois sentidos.
A velocidade de deslocamento da haste é função da vazão do fluido e da área efetiva do êmbolo, onde:
Desta equação, deduz-se que a velocidade V é diretamente proporcional à vazão Q e inversamente proporcional à área A, ou seja, quanto maior Q, maior V, e quanto maior A, menor V. Nos cilindros de haste simples, como a área efetiva do lado da haste é menor, a velocidade de retração é maior que a de extensão. Nos cilindros de haste dupla, tendo ambas as hastes o mesmo diâmetro, também a velocidade será igual nos dois sentidos.[1]
Classificação
Quanto ao funcionamento
- de ação simples: o cilindro exerce força em apenas uma direção, sendo o retorno da haste feito por mola, pela ação da gravidade, ou de outra força externa.
- de ação dupla: o cilindro exerce força nas duas direções.
Quanto à construção
- de haste simples: o cilindro possui uma haste montada em um dos lados do êmbolo.
- de haste dupla: o cilindro possui hastes montadas nos dois lados do êmbolo.
- de haste telescópica ou de múltiplo estágio: o cilindro é composto de várias hastes tubulares de diâmetros diferentes, que se encaixam uma dentro da outra, com vedações entre si. Permite grandes deslocamentos, sendo muito utilizada em guindastes.
Ver também
- Hidráulica
- Pneumática
Ver também
- Máquina hidráulica
- Hidráulica
- Pneumática
Referências
- ↑ William Durfee,; et al. (setembro de 2015). «Fluid Power System Dynamics» (PDF) (em inglês). Universidade de Minnesota
Ligações externas
- O que é e como funciona um cilindro hidráulico? Indústria hoje, 14/10/2016
Bibliografia
- Sistemas hidráulicos industriais - Ilo da Silva Moreira, SESI SENAI Editora, 2015 - 352 p. ISBN 9788565418089
- Hidráulica móbil – Ilo da Silva Moreira – SESI SENAI Editora, 2014 - 272 p. ISBN 9788565418478