Motor Stoddard

Elliott J. Stoddard era um cidadão americano que morava em Detroit condado de Wayne do estado de Michigan que inventou e patenteou duas versões do motor Stoddard, a primeira em 1919 e a segunda em 1933. A classificação geral deste motor é ser um motor de combustão externa com válvulas e fluido de trabalho gasoso monofásico (ou seja, um "motor de ar quente"). O fluido de trabalho interno foi originalmente ar, embora em versões modernas, outros gases, tais como hélio ou hidrogênio podem ser utilizados.
Uma potential vantagem termodinâmica de usar-se válvulas é minimizar os efeitos adversos de "volume não expulso" nos trocadores de calor (algumas vezes chamado "volume morto"), o qual é conhecido por reduzir a eficiência do motor e a saída de potência no não valvulado motor Stirling.
Motor Stoddard de 1919
Os processos termodinâmicos generalizados do ciclo Stoddard de 1919 são[1]:
- 1. Compressão adiabática
- 2. Adição de calor isobárica
- 3. Expansão adiabática
- 4. Remoção de calor isobárica
Motor Stoddard de 1933
No projeto de 1933[2], Stoddard reduziu o volume interno dos trocadores de calor mantendo os mesmos processos termodinâmicos generalizados como os do ciclo de 1919.

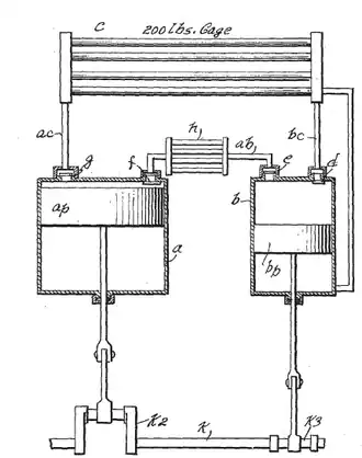
A versão renovada evidenciada na Imagem do motor Stoddard de 1933 mostra uma representação com indicações por meio de letras onde ilustra cada parte do motor.
A indicação com a letra c mostra um reservatório constituído por tubos, conectados a cabeçalhos e água para resfriamento do mesmo. A indicação ac e bc são são tubos que ligam os cilindro a que é um cilindro de trabalho e b que é um cilindro que se move alternadamente com o reservatório c, ab são tubos que liga o cilindro a ao cilindro b.
As indicações d e e na extremidade superior do cilindro b no qual é composto por duas partes são válvulas de descarga de entradas unidas por uma flange convencional. A indicação f é uma descarga de entrada e g uma válvula de escape na extremidade do cilindro a; h é um aquecedor representado como dois cabeçalhos unidos por tubos; bp e ap são pistões ; K2 e k3 são manivelas , k2 conectada ao pistão e k3 conectada ao colo do pistão.
Segundo Elliott J. Stoddard, a operação da forma dos dispositivos na figura do motor stoddard de 1933 é a combinação de um reservatório de ar comprimido frio a alta pressão, um cilindro com um pistão adaptado para alternar entre eles, um segundo cilindro com um pistão adaptado para alternar no mesmo, a entrada do primeiro. Temos que o cilindro se comunica com o referido reservatório e a sua saída comunica-se com a entrada do segundo cilindro, sendo os referidos cilindros uma capacidade tal que o ar que passa entre eles deve ser mantido a um volume aproximadamente constante, um aquecedor para o ar que passa de um dos referidos cilindros para o outro, e um cilindro de trabalho adaptado para receber o ar aquecido do primeiro cilindro expandindo o mesmo de forma que volte-o para o referido reservatório.