Cilindro (hidráulica e pneumática)

Cilindro hidráulico de duplo efeito

Em hidráulica ou pneumática, um cilindro (também chamado motor linear) é um atuador mecânico que é usado para aplicar uma força através de um percurso linear.

Operação

O cilindro hidráulico recebe a energia do fluido pressurizado por uma bomba hidráulica e o cilindro pneumático recebe a energia do fluido pressurizado por um compressor de gases. O cilindro converte essa energia recebida em energia mecânica. O fluido é enviado para o cilindro por uma válvula direcional.

Construção

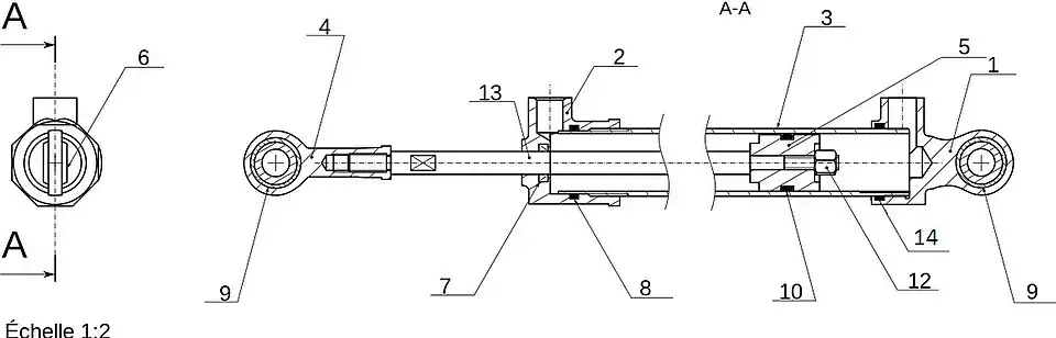
Os cilindros hidráulicos ou pneumáticos consistem basicamente de três peças: um tubo cilíndrico, um êmbolo e uma haste, que é conectada ao êmbolo. Nos cilindros de haste simples (haste em apenas um dos lados do êmbolo), o tubo cilíndrico é totalmente fechado em uma das extremidades pela própria construção do tubo ou por uma tampa não vazada, rosqueada ao tubo ou presa a este por parafusos. A outra extremidade do tubo possui uma tampa ou "cabeça", que pode ser também rosqueada no tubo ou fixada a este por parafusos, através de uma flange. Esta tampa tem um orifício central, de diâmetro pouco maior que o diâmetro da haste, com anéis de vedação, por onde passa a haste, que normalmente é cromada. Nos cilindros de haste dupla (haste dos dois lados do êmbolo), o tubo possui tampas vazadas em ambas as extremidades, por onde passam as hastes, como nos cilindros de haste simples. O êmbolo, que também possui anéis de vedação, divide o interior do tubo cilíndrico em duas câmaras: a câmara do lado do êmbolo e a câmara do lado da haste, nos cilindros de haste simples. O fluido pressurizado atua em ambas as câmaras, alternadamente, para produzir o movimento linear nos dois sentidos.

Um cilindro de ação dupla, haste simples e tampas rosqueadas, visto em corte. A haste (13) é rigidamente fixada ao êmbolo (5), que se move ao longo do tubo cilíndrico (3), pela ação do fluido sob pressão, que é direcionado para as entradas nas tampas (1) - extensão, e (2) - retração. A vedação do êmbolo (10) impede a passagem do fluído entre as câmaras internas do cilindro. A vedação (7) impede o vazamento externo do fluido pela haste, a vedação (8) impede o vazamento externo do fluido pela tampa da haste e a vedação (14) impede o vazamento externo do fluido pela tampa traseira.
Movimentos de extensão e retração em um cilindro de ação dupla e haste simples.

A força máxima é função da área efetiva do êmbolo e da pressão máxima admissível, onde:

Desta equação, deduz-se que a força F é diretamente proporcional à pressão P e à área A, ou seja, quanto maior P ou A, também F será maior.

A força é constante durante todo o percurso. Nos cilindros de haste simples, a força de extensão da haste é maior que a de retração, já que a área efetiva do lado do êmbolo é maior que a área efetiva do lado da haste. Isto porque a área efetiva do lado da haste é a área do êmbolo, subtraída a área da seção circular da haste. Nos cilindros de haste dupla, tendo ambas as hastes o mesmo diâmetro, também as forças serão iguais nos dois sentidos.

A velocidade de deslocamento da haste é função da vazão do fluido e da área efetiva do êmbolo, onde:

Desta equação, deduz-se que a velocidade V é diretamente proporcional à vazão Q e inversamente proporcional à área A, ou seja, quanto maior Q, maior V, e quanto maior A, menor V. Nos cilindros de haste simples, como a área efetiva do lado da haste é menor, a velocidade de retração é maior que a de extensão. Nos cilindros de haste dupla, tendo ambas as hastes o mesmo diâmetro, também a velocidade será igual nos dois sentidos.[1]

Classificação

Quanto ao funcionamento

  • de ação simples: o cilindro exerce força em apenas uma direção, sendo o retorno da haste feito por mola, pela ação da gravidade, ou de outra força externa.
  • de ação dupla: o cilindro exerce força nas duas direções.

Quanto à construção

  • de haste simples: o cilindro possui uma haste montada em um dos lados do êmbolo.
  • de haste dupla: o cilindro possui hastes montadas nos dois lados do êmbolo.
  • de haste telescópica ou de múltiplo estágio: o cilindro é composto de várias hastes tubulares de diâmetros diferentes, que se encaixam uma dentro da outra, com vedações entre si. Permite grandes deslocamentos, sendo muito utilizada em guindastes.

Ver também

Ver também

Referências

  1. William Durfee,; et al. (setembro de 2015). «Fluid Power System Dynamics» (PDF) (em inglês). Universidade de Minnesota 

Ligações externas

Bibliografia