CODASYL

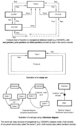
Exemplo de estrutura padrão do modelo de banco de dados CODASYL. O set consiste em um registro dono e n registros membros (no diagrama eles são descritos como "pai" e "filho", mas na terminologia CODASYL se usa "dono" e "membro"). No exemplo acima, estamos vendo um set básico que representa um relacionamento 1:N (Dono:Membro).

CODASYL (frequentemente escrito como Codasyl) é um acrônimo usado para "Conference on Data Systems Languages".

CODASYL Foi um consórcio da indústria de Tecnologia da Informação formado em 1959 para guiar o desenvolvimento de uma linguagem de programação padrão que pudesse ser usada em diversos computadores. Esse esforço resultou posteriormente no desenvolvimento do COBOL.[1][2][3][4]

Referências

  1. Standards, United States National Bureau of (1969). CODASYL COBOL: Journal of Development, 1968 (em inglês). [S.l.]: U.S. Government Printing Office. p. I-2-1
  2. Howe, David (26 de junho de 2001). Data Analysis for Database Design (em inglês). [S.l.]: Butterworth-Heinemann. p. 276
  3. «Reflections on the evolution of COBOL». www.cs.vu.nl. Consultado em 24 de julho de 2020
  4. Triance, J. M. «Structure programming in COBOL — the current options» (PDF). The Computer Journal. Volume 23. Number 3. p. 194. Consultado em 23 de julho de 2020