Shweeb

Shweeb é um sistema de trânsito baseado em carros de monotrilho movidos pelo usuário. O protótipo do projeto foi originalmente desenhado e implementado em Rotorua, Nova Zelândia. Em setembro, 2010, essa proposta para desenvolvimento de uma rede expandida foi escolhida para receber fundos da Google como parte do projeto 10100.[1]
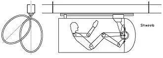
A proposta do trânsito Shweeb vem da tecnologia de bicicleta para mover carros suspensos em monotrilhos com nenhuma emissão de carbono. De acordo com a Shweeb Monorail Technology, a intencão da proposta é "criar uma solução que previa o usuário com a mesma flexibilidade e conforto oferecido pelo carro, mas sem os custos indirectos - a saúde financeira directa e indirecta e custos ambientais."[2].
Referências
- ↑ http://www.project10tothe100.com/index.html
- ↑ «Cópia arquivada». Consultado em 29 de setembro de 2010. Arquivado do original em 10 de agosto de 2010