Ignitor pirotécnico

Um ignitor pirotécnico (ou simplesmente ignitor) é um dispositivo contendo um composto pirotécnico usado basicamente para iniciar a queima de um outro componente de combustão mais difícil, por exemplo: Termites, geradores de gás e combustíveis sólidos de foguetes. Este nome também é usado para o componente combustível do ignitor.
Ignitores pirotécnicos são em geral comandados elétricamente (chamados eventualmente de ignitores eletropirotécnicos), ou seja, usam em geral uma resistência elétrica. Eles são similares a detonadores, mas ao contrário destes, não devem produzir ondas de choque. Um exemplo desse tipo de ignitor é o acendedor elétrico.
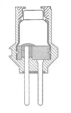
Todos os ignitores consistem de um dispositivo que converte energia elétrica em calor de forma a sensibilizar algum produto químico de forma a transformar esse calor em combustão. O dispositivo de geração de calor é em geral um fio de resistência disposto entre dois terminais, ou apenas dois terminais dispostos de tal forma que quando uma corrente elétrica é aplicada, uma centelha é gerada entre eles.[1]
Referências
- ↑ http://www.privatedata.com/byb/rocketry/Ignitor/pk_smd_cached/ SMD resistors as bridgewire elements of pyrotechnical initiators