Dispositivo de Brannock


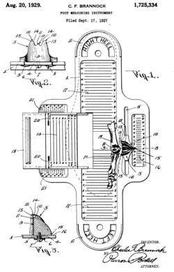
O Dispositivo de Brannock é um instrumento de medida inventado por Charles Brannock para medir as dimensões dos sapatos.


O Dispositivo de Brannock é um instrumento de medida inventado por Charles Brannock para medir as dimensões dos sapatos.