Algaraviz

Algaraviz (também chamado alcaravez ou alcaraviz[1]) é um tubo por meio do qual o ar é soprado para dentro de uma forja ou alto-forno[2][3] ou que serve de ligação entre o fole e a câmara de fundição[4].
Etimologia
O termo algaraviz é derivado da palavra alcaraviz, usada nas usinas da Andaluzia[2], que vem do árabe al-qarabīç[1] (por vezes escrito al-qarâbîs[1], al-carabiz[2] ou al-karabís[5]), plural de qarabūç, que significa arção[6].
Composição
Os algaravizes são comumente feitos de ferro fundido ou aço (revestidos ou não de concreto refratário)[7], mas também pode ser feitos de cobre ou barro refratário[4].
Utilização
Nas forjas do tipo forno de lupa, os algaravizes eram feitos de argila[8][9] e serviam para a entrada do ar pela força do vento, abano ou insuflador[10].
Nas forjas medievais, o algavariz consistia em um tubo de ferro que era acoplado à saída do fole, de modo que o ar pudesse ser soprado para dentro do forno[11].
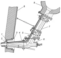
Em um alto-forno, o algaraviz é um dos componentes do conjunto porta-vento[12] (ou de sopro quente[13]). Sua função é conduzir o ar aquecido que passa pelo anel de vento até as ventaneiras[6] (também chamadas de tubeiras[14]) e a injeção de combustíveis auxiliares nas ventaneiras (como carvão pulverizado[12]), por meio de lanças de injeção[12][15]. Na extremidade oposta à saída de ar, existe um um visor ótico de inspeção, feito com vidro de alta resistência a temperatura e pressão, que permite a visualização da zona de combustão (também chamada de raceway) e outros aspectos operacionais[15].
Ver também
Referências
- ↑ a b c Alves, Adalberto (2014), Dicionário de Arabismos da Língua Portuguesa, ISBN 9789722721790, Lisboa: Imprensa Nacional-Casa da Moeda, Instituto Camões
- ↑ a b c Assaad, Zaidan. Letras e História: Mil Palavras Árabes na Língua Portuguesa. [S.l.]: Escrituras Editora e Distribuirdora de Livros Ltda. ISBN 9788575316078
- ↑ «Alcaraviz». Michaelis On-Line. Consultado em 31 de maio de 2017
- ↑ a b da Rocha, Bruno Miguel Coelho (2012). «Entre Águas 5: estrutura [204]». Faculdade de Ciências Sociais e Humanas, Universidade Nova de Lisboa. Consultado em 1 de junho de 2017
- ↑ «PALAVRAS DE ORIGEM ÁRABE». www.arabeegipcio.com. Consultado em 31 de maio de 2017
- ↑ a b S.A., Priberam Informática,. «Significado / definição de alcaraviz no Dicionário Priberam da Língua Portuguesa». priberam.pt. Consultado em 31 de maio de 2017
- ↑ PINHEIRO, GLEISSON MACIEL GOMES. «Artigo 327731353033 de CREA MG0000159529TD - Catálogo dos Profissionais do CREA - Engenharia Civil, Eletricista, Mecânica e metalúrgica, Química, Geologia e Minas, Agrimensura, Agronomia, Segurança do Trabalho». www.creadigital.com.br. Consultado em 1 de junho de 2017
- ↑ Proença, Alex (15 de julho de 2007). «A produção negociada». Opinião Socialista. Consultado em 2 de junho de 2017
- ↑ Jorge, Susana Oliveira (1976). «Vasos cerâmicos do Abrigo 1 da Ganda (Angola)». Revista de Guimarães, n.º 86, 1976, p. 223-233. Consultado em 17 de junho de 2017
- ↑ Maia, Rafael Rocha (9 de maio de 2014). «Análise de inclusões de escória em amostras arqueológicas da fábrica de ferro de Ipanema.». doi:10.11606/d.3.2014.tde-29122014-115425. Consultado em 26 de setembro de 2016
- ↑ «Tuyere and Bellows - Primitive Method — Primitive Method». userblogs.ganoksin.com (em inglês). Consultado em 1 de junho de 2017
- ↑ a b c Motta, Ricardo Sebastião Nadur (2011). Automação e controle de sistemas de injeção de carvão pulverizado em altos-fornos (PDF). Itajubá: Universidade Federal de Itajubá - UNIFEI. Consultado em 31 de maio de 2017
- ↑ Oliveira, Edson Lucas de (2012). Análise teórica e experimental de uma ventaneira de alto forno, visando seu comportamento térmico e fluidodinâmico (PDF). Guaratinguetá: Universidade Estadual Paulista - UNESP. Consultado em 1 de junho de 2017
- ↑ «Tobera». WordReference Forums (em inglês)
- ↑ a b Siqueira, Elis Regina Lima (2014). Simulação de gás natural injetado pelas ventaneiras do alto forno. Rio de Janeiro: Pontifícia Universidade Católica do Rio de Janeiro. Departamento de Engenharia de Materiais. p. 12-14. Consultado em 31 de maio de 2017